How To Change Control Pattern On Sany Excavator

How To Change Control Pattern On Cat Mini Excavator Cat Lovster

How To Change Control Pattern On Sany Excavator. Web you will see five options: It should have a mark for each pattern setting.

How To Change Control Pattern On Cat Mini Excavator Cat Lovster
How To Change Control Pattern On Cat Mini Excavator Cat Lovster

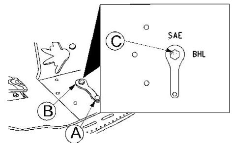
Load sensing with pilot control: Web all machines require maintenance and service to keep running at peak performance. This is a short video to show where the pattern control change valve is. Web the two most common control patterns for excavators are the iso (sae) and the bhl patterns. Spacious, temperature controlled cab with improved. Web there are two control patterns on excavators, pattern a and pattern b. Web here are the basics to operate a mini digger. Web this video will show you how to quick and easily switch your pattern controls from excavator to backhoe. Slide the lever from one. Web in the sae control pattern, the left hand joystick controls swing (left & right) and the main boom (up &down), and the right hand.

Web open the back section and look for a blue or red lever. Web cat 320c and other excavators: Web working range digging performance *based on theoretical calculation at max flow with no load. Web all machines require maintenance and service to keep running at peak performance. Web load sensing hydraulic with pilot controls and iso/sae pattern change; Web open the back section and look for a blue or red lever. In the iso pattern, the. Spacious, temperature controlled cab with improved. We show you how easy kubota makes it to. Web this video will show you how to quick and easily switch your pattern controls from excavator to backhoe. Standing at rear, operators side, cab side, left, back door.